
我們專業做異形模具和異形塑料件
開模不成功,退還全部開模費
全國咨詢熱線:
13932815220
13932815220
塑料產品的缺陷基本分為以下三種。
一,致命缺陷:與安全有關的缺陷,如突出的銳角、漏電、有毒等危害人體健康和安全的缺陷。所以,對于塑料制品來說,前期的結構設計盡量不要存在銳角,塑料加工廠在選擇材料時選擇要考慮環保,安全性能測試是至關重要的一步。
二,嚴重缺陷:與產品安全無關與產品功能有關的缺陷,如產品較脆、填充不足、功能不全或不穩定、影響或危及人身安全的缺陷。塑料產品的開裂、連接裝配關系的失效、材料分解、氣泡、熔接線位置強度差異等缺陷都會造成產品功能的失效或存在安全隱患。
三,輕微缺陷:不影響使用、但是影響產品美觀性的缺陷,比如刮傷、色差、毛邊、裝配斷差等。這些缺陷在不影響功能的前提下,屬于塑料產品的輕微缺陷。塑料模具加工制造后,要通過正式的驗收標準,才能確保出來的塑料產品注塑的完美性;并且達到客戶的使用要求;


深州市華民機械有限公司,從事塑料制品行業二十余年,擁有豐富的產品研發、生產經驗,是一家值得客戶信任的優質供應商。華民公司擁有自己獨立的塑料模具設計團隊、塑料模具制造車間、塑料制品加工車間。公司創辦以來,通過不懈努力,與德國歐登多木工機械、邁克威力木工機械、韓國(厚地)食品機械配套合作多年,深受

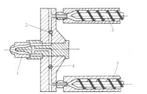
模具的組成 : 注塑模具由動模和定模兩部分組成,動模安裝在注射成型機的移動模板上,定模安裝在注射成型機的固定模板上。在注射成型時動模與定模閉合構成澆注系統和型腔,開模時動模和定模分離以便取出塑料制品。 根據模具中各個部件所起的作用,一般可將注塑模細分為以下幾個基本組成部分。一、

加工方面:(1)加工壓力過大、速度過快、充料愈多、注射、保壓時間過長,都會造成內應力過大而開裂。(2)調節開模速度與壓力防止快速強拉制件造成脫模開裂。(3)適當調高模具溫度,使制件易于脫模,適當調低料溫防止分解。(4)預防由于熔接痕,塑料降解造成機械強度變低而出現開裂。(5)適

原因分析:塑料成型塑膠熔體流動的痕跡,以澆口為中心而呈現的條紋波浪模樣。表面發生垂直流向的無數細紋,導致塑料制品表面產生類似指紋的波紋。解決辦法:流痕是最初流入型腔內的塑膠熔體冷卻過快,與其后流入的塑膠熔體間形成界限所致。殘留于注塑機噴嘴前端的冷材料,注塑加工廠家在生產注塑的時候,若直接進入型腔內,

注塑生產中,所謂雙色注塑成型,是指將兩種不同色澤的塑料注入同一模具的成型方法。它能使塑件出現兩種不同的顏色,并能使塑件呈現有規則的圖案或無規則的云紋狀花色,以提高塑件的實用性和美觀性。 雙混色注塑成型 注塑加工廠家生產中,如下圖所示為雙混色注